Телефоны для связи
- Общий8-800-250-83-33
- По технике8-495-221-83-33
- По запчастям8-495 221-84-44
- По сервису8-495 660-50-86
-
Услуги
- Акции
- Новости
- Справочник
- Главная /
- Каталог /
- Складская техника /
- Штабелеры электрические самоходные GROS в Москве /
- Штабелеры электрические самоходные в Москве /
- Высотный электроштабелер 1500 кг с платформой и высотой подъема 5.5 метра GROS MB1555LC-Li (аккумулятор Li-ion, завод MIMA)
Высотный электроштабелер 1500 кг с платформой и высотой подъема 5.5 метра GROS MB1555LC-Li (аккумулятор Li-ion, завод MIMA)
‹›
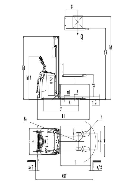
Модель: MB1555LC-LIНоминальная грузоподъемность, кг: 1500Высота подъема вил от, мм: 5500Высота подъема вил до, мм: 5500... Гарантия: 12 месяцев или 1200 м/ч наработки (что наступит ранее).Предлагаем приобрести высотный самоходный электроштабелер GROS MB1555LC-Li грузоподъемностью 1.5 тонны и мачтой 5.5 метров. Техника поставляется напрямую с завода MIMA официальным дилером, компанией «Склад.ру».Подробное описание
Аккумулятор: литий-ионный
от 989 829 ₽Выберите характеристикиНайдено: 2Цены действительны на 07.11.2025. Окончательную стоимость уточняйте у менеджера.Модель:MB1555LC-LIАртикул:—Статус:Под заказГрузоподъемность, кг: 1500Тип мачты: —Высота подъема, мм: —Тип аккумулятора: —Грузоподъёмность на максимальной высоте, кг: —Цена по запросуСтоимость зависит от комплектации. Оставьте заявку и менеджер пришлет вам коммерческое предложение.Модель:MB1555LC-LIАртикул:F021069Статус:В наличииГрузоподъемность, кг: 1500Тип мачты: Трехсекционный со свободным ходомВысота подъема, мм: 5500Тип аккумулятора: Литий-ионный тяговыйГрузоподъёмность на максимальной высоте, кг: 300Цена с НДС на стандартную комплектацию. Окончательную стоимость уточняйте у менеджера.Основные данныеБрендGROSМодельMB1555LC-LIИзготовительBanyitong Science And Technology DevelopingCo.,LtdСтрана производстваКитайская Народная РеспубликаНоминальная грузоподъемность, кг1500Расстояние от центра тяжести груза до спинки вил, (c) мм600ЦветКрасныйШасси и колёсаЧисло колёс, передних1Размер приводного колеса230X75Размер опорных колес80X70Число колёс, задних4Ведущие колесаПередниеТип шинПолиуретанРазмер задних шин125X50Дорожный просвет по центру колёсной базы, (m2) с грузом30Основные узлыТип двигателяЭлектроНоминальная мощность двигателя движения, кВт1.5Номинальная мощность электродвигателя гидронасоса, кВт3ГрузоподъемникВысота подъема вил от, мм5500Высота подъема вил до, мм5500Рабочие характеристикиСкорость передвижения (с грузом), км/ч5Скорость передвижения (без груза), км/ч6Скорость подъёма (с грузом), мм/сек90Скорость подъёма (без груза), мм/сек130Скорость опускания (с грузом), мм/сек95Скорость опускания (без груза), мм/сек100Максимальный преодолеваемый подъем (с грузом), tanθ(%)8Максимальный преодолеваемый подъем (без груза), tanθ(%)10Внешний радиус поворота, (Wa) мм1655Минимальная ширина проезда между стеллажами при работе с поддонами 1200х800 мм, хват вдоль (Ast), мм2450ВесЭксплуатационная масса без груза, кг1550РазмерыГабаритная длина с вилами, мм2130Габаритная длина до спинки вил, мм2130Габаритная ширина, (b1) мм1000Высота по решетку ограждения водителя, (h6) мм2437Длина стандартных вил, мм115012 месяцев или 1200 м/ч наработки (что наступит ранее).Склад.ру работает как с физическими, так и с юридическими лицами
Для физических лиц
Необходимо оформить предварительный заказ по тел.: 8-800-250-83-33
Оплата товара возможна:
- наличными при получении товара на складе компании «Склад.ру»;
- безналичная оплата по QR-коду через Систему быстрых платежей;
- банковским переводом по счету, который вы получите на электронную почту после согласования с менеджером. В случае безналичного расчета забрать товар вы сможете после поступления денежных средств на счет компании «Склад.ру».
Для юридических лиц
Оплата осуществляется по безналичному расчету по счету, выставленному менеджером компании «Склад.ру».
После того, как денежные средства поступят, ваш менеджер сообщит о возможности забрать товар самовывозом на складе «Склад.ру». Либо сообщит дату доставки, в случае отправки товара транспортной компанией на указанный в заявке адрес.Подробнее о ДОСТАВКЕ
Внимание! Для получения товара со склада в некоторых случаях необходима Доверенность.
Как её правильно оформить смотрите здесьПри необходимости возможно приобретение техники для склада в Лизинг
Для предварительного расчета оставьте заявку на сайте.Предлагаем приобрести высотный самоходный электроштабелер GROS MB1555LC-Li грузоподъемностью 1.5 тонны и мачтой 5.5 метров. Техника поставляется напрямую с завода MIMA официальным дилером, компанией «Склад.ру».
Аккумулятор: литий-ионный
Высотный электроштабелер GROS MB1555LC-Li с подножкой для оператора - это техника нового поколения, разработанная для использования на складах всех видов.
Электродвигатель штабелера работает от литий-ионной аккумуляторной батареи.
Сопровождаемый штабелер применяется:
● Для обработки грузов по горизонтали и штабелирования грузов до 1.5 тонн.
● Для обработки и штабелирования грузов на средние и длинные дистанции перемещения.
● Для погрузки, выгрузки и обработки грузов на паллетах в складах, супермаркетах и на производстве.
Отличительные особенности самоходного штабелера GROS MB1555LC-Li:
1. В электрическом штабелере для паллет используется мощная система привода на переменном токе (АС), не требующая текущего обслуживания. Она обеспечивает надежное действие привода. Аккумуляторная батарея большой емкости 210 Ач позволяет работать штабелеру длительное время без перерыва на подзарядку.2. Контроллер CURTIS - надежный и долговечный. Влагозащищенный и пылезащищенный AMP-разъем гарантирует надежную защиту для проводки и значительно снижает возможность отказа в электрике.
3. Штабелер оснащен современной приборной панелью, полностью электронным рулевым управлением, встроенным джойстиком. Всё это обеспечивает безопасное и простое управление.

- Многофункциональный дисплей у самоходного штабелера GROS MB1555LC-Li имеет индикатор питания, отображение кода неисправности, отображение рабочего времени и отображение быстрой и медленной скорости.
- Кнопка аварийного отключения питания, для использования в экстренных случаях.
4. Вновь разработанная система плавающей подвески делает работу рулевого управления более гибкой и удобной.
5. У самоходного штабелера GROS MB1555LC-Li применена конструкция с 5 точками опоры и низким центром тяжести.
6. Рама изготовлена из высокопрочной стальной пластинчатой каркасной конструкции, которая обладает большой прочностью и имеет длительный срок службы.
Коротко о главных преимуществах китайского самоходного электроштабелера GROS MB1555LC-Li с платформой для оператора

Простое управление
- Распределение мощности стандартного стационарного привода при рулевом управлении делает управление легче и более гибким.
- Новейшая система управления CURTIS AC обеспечивает точное и устойчивое управление и более высокую эффективность.
- В базовой комплектации самоходный штабелер GROS MB1555LC-Li оснащен устройством амортизации, которое значительно повышает комфорт при перемещении и снижает усталость от длительной работы.

- Со встроенной ручкой управления все просто и удобно. Все функции управления можно легко выполнить одной рукой.
Надежность
- В самоходном штабелере GROS MB1555LC-Li применена конструкция с 5 точками опоры и низким центром тяжести. Рама изготовлена из высокопрочной стальной пластинчатой каркасной конструкции.

- Вся электрическая система имеет влагозащиту, что обеспечивает ей надежную эксплуатацию.

- Трехсекционная мачта с большой высотой подъема изготовлена из стального профиля, который обладает более высокой жесткостью и устойчивостью. Высота подъема мачты у модели GROS MB1555LC-Li составляет 5500 мм.

Безопасность
- В штабелере GROS MB1555LC-Li имеется три функции тормоза: отпущенный тормоз, тормоз при заднем ходе и аварийный тормоз для обеспечения безопасности перемещения.
- Вертикальное ограждение выполнено как единое целое для лучшей защиты водителя.
- Скорость перемещения устройства автоматически снижается с увеличением угла поворота рулевого управления.
- Имеется функция замедления опускания вил около земли для эффективной защиты сохранности груза.
Где купить высотный штабелер с мачтой 5.5м в Москве?
Хотите приобрести недорогой и качественный штабелер самоходный электрический для склада – нажимайте кнопку «Узнать цену» и вы получите индивидуальное коммерческое предложение со скидкой до 10%.
Инструкция по эксплуатации на электрический самоходный штабелер с подножкой и поручнями GROS (MIMA) серии МВЕсли вы не нашли нужный документ, отправьте нам запрос. Мы ответим вам в ближайшее время.
Запросить документы
Сравнение эффективности использования различных видов погрузочной техники на складеВилочный погрузчик, ричтрак или штабелер с трехсторонней обработкой грузов - что выгоднее использовать на складе?
Подробнее 06.05.2024
Бренд GROS: вилочные погрузчики и складская техника от ведущих мировых производителей. ОтзывыГрузоподъемная техника GROS — это вилочные погрузчики и полная линейка складской техники от ведущих мировых производителей, входящих в TOP-30 мирового рейтинга.
Подробнее 11.03.2024
Узкопроходный штабелер с трехсторонней обработкой груза от MIMA: отличное решение для текстильных складовОдна известная компания по производству кожи и текстиля обратилась в китайскую компанию MIMA с запросом об оптимизации пространства склада для увеличения его ёмкости и эффективности.
Подробнее 13.11.2023
Штабелер электрический самоходный – доступный помощник на складеВ 2022 году к нам обратилась компания «Теплогид», которой в связи с переездом на новый склад требовалась техника для перевозки и складирования груза.
Подробнее 19.09.2022
Сильный рывок потребления вилочных погрузчиков и складской техники во всем мире в 2021 годуВ 2020-2021 гг. мировая пандемия затронула все сферы народного хозяйства. Но, несмотря на сбои цепочек поставок, смещения и увеличения сроков производства, мировой рынок складской техники вырос как количественно, так и качественно.
Подробнее 27.06.2022
Обзор российского рынка вилочных погрузчиков и складской техники за 2011-2020 годыОбзор российского рынка вилочных погрузчиков и самоходной складской техники за период 2011-2020 на основе данных WITS.
Подробнее 12.02.2021
Что такое AST и как его считатьРазбираемся что такое AST на примерах расчёта при обработке различных грузов.
Подробнее 30.01.2018
Лучшая складская техника от лучших производителейМы объединили лучших производителей складской техники, входящие в TOP-10 мирового рейтинга, под единым брендом GROS.
Подробнее 06.04.2015
Способы смены АКБ в складской техникеЭлектрическая складская техника приводится в движения от аккумуляторной батареи (АКБ). Как правило, одного заряда АКБ хватает на 5-8 часов работы. Поэтому служба эксплуатации складской техники вынуждена менять разряженную АКБ на аналогичную заряженную.
Похожие товарыот 918 026 ₽-
ИзготовительBanyitong Science And Technology DevelopingCo.,Ltd
-
Грузоподъемность, кг1500
-
Высота подъема вил от, мм5500
-
Высота подъема вил до, мм5500
Цена по запросу-
ИзготовительBanyitong Science And Technology DevelopingCo.,Ltd
-
Грузоподъемность, кг1500
-
Высота подъема вил от, мм3000
-
Высота подъема вил до, мм5000
от 245 618 ₽-
ИзготовительANHUI HELI Co. Ltd.
-
Грузоподъемность, кг1500
-
Высота подъема вил от, мм2000
-
Высота подъема вил до, мм3500
от 237 201 ₽-
ИзготовительANHUI HELI Co. Ltd.
-
Грузоподъемность, кг1500
-
Высота подъема вил от, мм3000
-
Высота подъема вил до, мм3000
Цена по запросу-
ИзготовительANHUI HELI Co. Ltd.
-
Грузоподъемность, кг1500
-
Высота подъема вил от, мм10500
-
Высота подъема вил до, мм10500
Цена по запросу-
ИзготовительANHUI HELI Co. Ltd.
-
Грузоподъемность, кг1500
-
Высота подъема вил от, мм6500
-
Высота подъема вил до, мм10500
Цена по запросу-
ИзготовительBanyitong Science And Technology DevelopingCo.,Ltd
-
Грузоподъемность, кг1500
-
Высота подъема вил от, мм4500
-
Высота подъема вил до, мм4500
Цена по запросу-
ИзготовительBanyitong Science And Technology DevelopingCo.,Ltd
-
Грузоподъемность, кг1500
-
Высота подъема вил от, мм2500
-
Высота подъема вил до, мм2500
Под заказВысотный штабелер 1500 кг с платформой и мачтой 5 метров GROS MB1550LC (аккумулятор AGM, завод MIMA)
Цена по запросу-
ИзготовительBanyitong Science And Technology DevelopingCo.,Ltd
-
Грузоподъемность, кг1500
-
Высота подъема вил от, мм5000
-
Высота подъема вил до, мм5000
Цена по запросу-
ИзготовительBanyitong Science And Technology DevelopingCo.,Ltd
-
Грузоподъемность, кг1500
-
Высота подъема вил от, мм5500
-
Высота подъема вил до, мм5500
Цена по запросу-
ИзготовительBanyitong Science And Technology DevelopingCo.,Ltd
-
Грузоподъемность, кг1500
-
Высота подъема вил от, мм2500
-
Высота подъема вил до, мм9000
от 230 644 ₽-
ИзготовительZhejiang Jialift Warehouse Equipment Co.Ltd.
-
Грузоподъемность, кг1500
-
Высота подъема вил от, мм3000
-
Высота подъема вил до, мм3000
Под заказСамоходный штабелер 1500 кг с высотой подъема 3 метра GROS CL1530JB-Li (аккумулятор Li-ion)
от 241 765 ₽-
ИзготовительZhejiang Jialift Warehouse Equipment Co.Ltd.
-
Грузоподъемность, кг1500
-
Высота подъема вил от, мм3000
-
Высота подъема вил до, мм3000
Под заказШтабелер электрический самоходный 1500 кгс мачтой 3.5 метра GROS CL1535JB (аккумулятор AGM)
Цена по запросу-
ИзготовительZhejiang Jialift Warehouse Equipment Co.Ltd.
-
Грузоподъемность, кг1500
-
Высота подъема вил от, мм3500
-
Высота подъема вил до, мм3500
В наличииШтабелер самоходный 1500 кг GROS CL1535JB-Li с высотой подъема 3.5 метра (аккумулятор Li-ion)
от 279 481 ₽-
ИзготовительZhejiang Jialift Warehouse Equipment Co.Ltd.
-
Грузоподъемность, кг1500
-
Высота подъема вил от, мм3500
-
Высота подъема вил до, мм3500
от 736 804 ₽-
ИзготовительBanyitong Science And Technology DevelopingCo.,Ltd
-
Грузоподъемность, кг1500
-
Высота подъема вил от, мм3000
-
Высота подъема вил до, мм3000
от 737 384 ₽-
ИзготовительBanyitong Science And Technology DevelopingCo.,Ltd
-
Грузоподъемность, кг1500
-
Высота подъема вил от, мм4500
-
Высота подъема вил до, мм4500
Под заказВысотный электроштабелер 1500 кг с платформой и мачтой 5 метра GROS MB1550LC Li-ion (завод MIMA)
от 792 372 ₽-
ИзготовительBanyitong Science And Technology DevelopingCo.,Ltd
-
Грузоподъемность, кг1500
-
Высота подъема вил от, мм5000
-
Высота подъема вил до, мм5000
Новинкаот 293 987 ₽-
ИзготовительZhejiang Jialift Warehouse Equipment Co.Ltd.
-
Грузоподъемность, кг1500
-
Высота подъема вил от, мм2600
-
Высота подъема вил до, мм2600
В наличииСамоходный штабелер 1.5 тонны GROS CL1536E-Li, высота подъема 3.6 метра (аккумулятор Li-ion)
от 318 163 ₽-
ИзготовительZhejiang Jialift Warehouse Equipment Co.Ltd.
-
Грузоподъемность, кг1500
-
Высота подъема вил от, мм3600
-
Высота подъема вил до, мм3600
Цена по запросу-
ИзготовительBanyitong Science And Technology DevelopingCo.,Ltd
-
Грузоподъемность, кг1500
-
Высота подъема вил от, мм4500
-
Высота подъема вил до, мм10000
от 544 746 ₽-
ИзготовительZhejiang Jialift Warehouse Equipment Co.Ltd.
-
Грузоподъемность, кг1500
-
Высота подъема вил от, мм4500
-
Высота подъема вил до, мм4500
В наличииСамоходный штабелер 1.5 тонн GROS CL1525JB-Li с высотой подъема 2.5 метра (аккумулятор Li-ion)
от 246 601 ₽-
ИзготовительZhejiang Jialift Warehouse Equipment Co.Ltd.
-
Грузоподъемность, кг1500
-
Высота подъема вил от, мм2500
-
Высота подъема вил до, мм2500
от 981 857 ₽-
ИзготовительBanyitong Science And Technology DevelopingCo.,Ltd
-
Грузоподъемность, кг1500
-
Высота подъема вил от, мм5500
-
Высота подъема вил до, мм5500
Под заказЭлектроштабелер ричтрак 1.5 т с выдвижными вилами и высотой подъема 3 метра GROS MFA15 (завод MIMA)
Цена по запросу-
ИзготовительBanyitong Science And Technology DevelopingCo.,Ltd
-
Грузоподъемность, кг1500
-
Высота подъема вил от, мм3000
-
Высота подъема вил до, мм3000
Цена по запросу-
ИзготовительBanyitong Science And Technology DevelopingCo.,Ltd
-
Грузоподъемность, кг1500
-
Высота подъема вил от, мм3500
-
Высота подъема вил до, мм3500
Цена по запросу-
ИзготовительBanyitong Science And Technology DevelopingCo.,Ltd
-
Грузоподъемность, кг1500
-
Высота подъема вил от, мм4000
-
Высота подъема вил до, мм4000
Цена по запросу-
ИзготовительBanyitong Science And Technology DevelopingCo.,Ltd
-
Грузоподъемность, кг1500
-
Высота подъема вил от, мм4500
-
Высота подъема вил до, мм4500
Цена по запросу-
ИзготовительBanyitong Science And Technology DevelopingCo.,Ltd
-
Грузоподъемность, кг1500
-
Высота подъема вил от, мм5000
-
Высота подъема вил до, мм5000
Сопутствующие товарыХитот 16 646 ₽-
ИзготовительBAODING JOGSOP INDUSTRY AND TRADE CO.,LTD
-
Грузоподъемность, кг2500
-
Высота подъема вил от, мм85
-
Высота подъема вил до, мм200
Новинкаот 24 420 ₽-
ИзготовительBAODING JOGSOP INDUSTRY AND TRADE CO.,LTD
-
Грузоподъемность, кг3000
-
Высота подъема вил от, мм85
-
Высота подъема вил до, мм200
Цена по запросу-
ИзготовительBanyitong Science And Technology DevelopingCo.,Ltd
-
Грузоподъемность, кг2500
-
Высота подъема вил от, мм4500
-
Высота подъема вил до, мм8500
от 219 355 ₽-
ИзготовительZhejiang Jialift Warehouse Equipment Co.Ltd.
-
Грузоподъемность, кг1200
-
Высота подъема вил от, мм2500
-
Высота подъема вил до, мм2500
В наличииШтабелер самоходный 1500 кг GROS CL1535JB-Li с высотой подъема 3.5 метра (аккумулятор Li-ion)
от 281 750 ₽-
ИзготовительZhejiang Jialift Warehouse Equipment Co.Ltd.
-
Грузоподъемность, кг1500
-
Высота подъема вил от, мм3500
-
Высота подъема вил до, мм3500
Затрудняетесь с выбором техники и запасных частей?
Оставьте свой номер и наш специалист свяжется с вами и поможет подобрать подходящее решение
-
Общий8-800-250-83-33
-
По технике8-495-221-83-33
tehnika@sklad.ru -
По запчастям8-495 221-84-44
zapchasti@sklad.ru -
По сервису8-495 660-50-86
remont@sklad.ru
© 1992-2025 ООО «Склад.ру» | ИНН:7705851719,
ул. Дубининская, д. 20, стр. 1, г. Москва, 115054,
ул. Баковская, д.16, МО, г. Одинцово, 143005Сведения, приведенные на данном сайте (включая цены) не являются офертой (в т.ч. не являются офертой в соответствии со ст.ст.432, 437, 494 ГК РФ), приводятся исключительно для информационных целей. За подробной информацией о стоимости и в целях заключения договоров купли-продажи просим обращаться непосредственно к менеджерам по продажам. Политика в отношении обработки персональных данных. Персональные данные используются на сайте в целях его функционирования, и если Вы не согласны, то должны покинуть сайт. Продолжение пребывания на сайте будет являться Вашим согласием на возможное использование персональных данных.
Мы используем файлы cookie.
Ошибка!
ЗакрытьСпасибо за обращение!
ЗакрытьТовар успешно добавлен к заказу!
– +ПродолжитьЗаказать